Close Window       Previous:Fig:9A:GEAR CASE (DRIVE SHAFT)

                   Next:Fig:10:JET DRIVE

Show All Parts

   

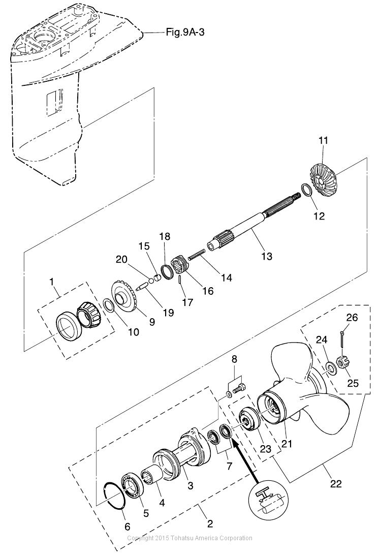
GEAR CASE (PROPELLER SHAFT)

Figure 9B
for Model # MX30H
(Click Item # for details)

Price Display
  
(1) TAPERED ROLLER BEARING 30205(2) PROPELLER SHAFT HOUSING ASSY(3) PROPELLER SHAFT HOUSING(4) ROLLER BEARING 18-25-2.5(5) BALL BEARING 6205(6) O-RING 3-62.5(7) OIL SEAL 18-28-8(8) BOLT(9) BEVEL GEAR ASSY (A)(10) SHIM 26.5-34.8-0.1(10) SHIM 26.5-34.8-0.15(11) BEVEL GEAR C(12) WASHER 18-24-1.5(13) PROPELLER SHAFT(14) SPRING(15) SPRING RETAINER(16) CLUTCH(17) PIN(18) SNAP(19) PUSH ROD(20) BALL 3/8(21) PROPELLER ASSY (8")(21) PROPELLER ASSY (9")(21) PROPELLER ASSY (10")(21) PROPELLER ASSY (11")(21) PROPELLER ASSY (12")(21) PROPELLER ASSY (13")(21) PROPELLER ASSY (14")(22) PROPELLER HARDWARE KIT(23) THRUST HOLDER(24) WASHER 12.5-32-2.5(25) PROPELLER NUT(26) SPLIT PIN 3-22