Close Window       Previous:Fig:19:TOP COWL

                   Next:Fig:20A:TILLER HANDLE (MULTI-FUNCTION)

Show All Parts

   

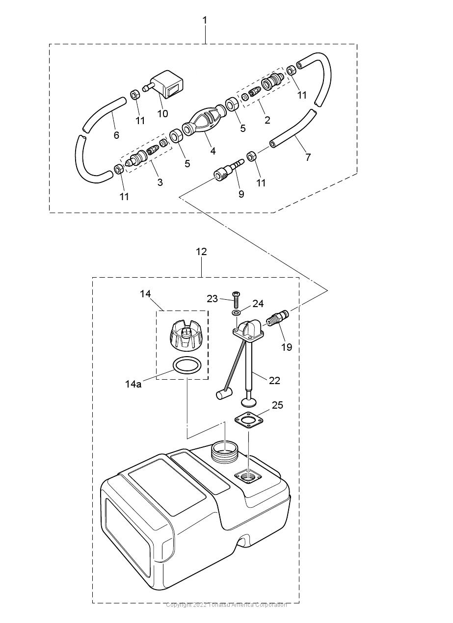
FUEL TANK

Figure 20
for Model # MFS30C
(Click Item # for details)

Price Display
  
(1) PRIMER BULB ASSY(2) JOINT ASSY (INLET)(3) JOINT ASSY (OUTLET)(4) PRIMER BULB(5) CLAMP(5) CLAMP(6) HOSE(7) HOSE(9) FUEL CONNECTOR(10) FUEL CONNECTOR(11) CLAMP(11) CLAMP(11) CLAMP(11) CLAMP(12) FUEL TANK ASSY 25L(14) FUEL TANK CAP ASSY(14A) TANK FILLER CAP GASKET(19) QUICK-CONNECTOR (MALE)(22) FUEL PICK-UP ASSY W/GAUGE(23) SCREW(24) WASHER(25) GASKET